GMSL芯片在汽车应用中特别多,尤其是在需要高带宽数据传输的智能驾驶汽车中。
吉比特多媒体串行链路,Gigabit Multimedia Serial Links,缩写为GMSL,是Maxim公司(现在被ADI收购了)推出的一种高速串行接口,适用于视频、音频和控制信号的传输,使用50Ω同轴电缆或100Ω屏蔽双绞线电缆,传输距离可达15m或更长。
GMSL技术的特点是将并行数据转换成串行数据发送,在接收端将串行数据解码为并行数据,其优势有:高速率、远距离、抗干扰性强等。目前基于GMSL架构的通信协议最高可实现单通道12Gbps的速率(GMSL3)。
GMSL技术在现代汽车视频互连众多性能的基础上,提供高宽带、功能丰富、设计灵活性等优势,支持无人驾驶系统等未来汽车的设计需求。GMSL链路完整性和诊断功能提供了可靠的链路性能监测,对汽车安全系统的设计非常重要。GMSL串行器和解串器支持长达15m的屏蔽双绞线(STP)或同轴电缆传输,串行器和解串器IC均内置扩频功能,以改善链路的电磁兼容(EMI)性,满足汽车行业最苛刻的电磁兼容(EMC)要求。
由于并行数据传输受布线非等长和相互之间的串扰影响,导致我们无法使用并行总线进行非常高带宽的跨芯片传输,所以将数据传输串行化可以进一步提升传输带宽的上限。
Serdes技术在SOC芯片中我们经常使用,我们看到的各种高速数据传输有非常多的总线协议都是使用了Serdes技术。GMSL的独特优势是可以实现15M长同轴或者双绞线缆中高达数Gbps的串行传输。
GMSL使用发送预加重和接收均衡来提升链路的信号完整性,抵抗线缆带来的信号衰减,并且使用Jitter Filter PLL 清除输入时钟上的抖动,提高链路可靠性。与普通Serdes技术不同,GMSL还提供一个和高速数据流(Forward-Link)反向的低速通信通道(Reverse-Link or Backward Link),用一些简单控制命令的下发,该接口在转换端往往被当成I2C或者SPI使用。
GMSL芯片往往是成对使用,一个串行器对应一个解串器。串行器可以将不同的并行数据协议如MIPI、LVDS等转换成串行,在解串端数据可以被转换成其他类型的并行协议,下图是一个常见的应用场景。

GMSL技术目前一共有三代产品,传输速率呈现倍增趋势。

下图列举了每代GMSL技术提供的速率和编码技术。

GMSL1速率稍低,体现不出GMSL的优势,GMSL3目前应用不是很广泛,公开资料也比较少,所以本文尽量以GMSL2为主线进行介绍。
首先我们看一下GMSL芯片的互联系统,下图是一对GMSL1 芯片的互联系统图(没有找到比较美观的GMSL2的图,不过下图的原理是一样的)

下图是MAX96717的功能框图,这是一款CSI-2转GMSL的芯片,值得注意的是它使用的是9b/10b编码,相比与8b/10b,编码效率更高。 这是一个串行器芯片,其数据接收部分是低速信号,可以被转换为I2C、SPI、Uart和普通IO。

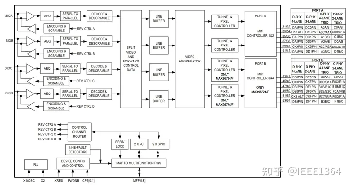
下图MAX96724/F/R 的框图,这个是一个GMSL转CSI-2的解串器(Deserializer)芯片。其接收的第一级就是AEQ,负责完成均衡。

GMSL需要支持使用同轴线和双绞线,低成本双绞线电缆的高频衰减是一个很严重的问题,高频衰减造成接收信号出现明显的码间干扰(ISI),进而难以恢复时钟和数据,导致误码率(BER)升高。从下图可以看出发送信号在到达接收器之前被电缆衰减的结果。发送器和接收器采取一定形式的线路均衡,可大幅降低ISI并恢复严重劣化的数据,确保可靠工作。

2.2.1发送预加重
预加重是一种在发送端对输入信号高频分量进行补偿的信号处理方式。 随着信号速率的增加,信号在传输过程中受损很大,为了在接收终端能得到比较好的信号波形,就需要对受损的信号进行补偿,预加重技术的思想就是在传输线的始端增强信号的高频成分,以补偿高频分量在传输过程中的过大衰减。
假设接收器端没有采用均衡,数据线在连续出现一串“1”后,发送高频“0”脉冲时可能无法恢复到信号摆幅的中间位置。下图解释了如何通过加重跳变沿、去加重“非跳变沿”,最终克服高频衰减问题。

时域预加重滤波
导体和介电损耗使得电缆的传递函数表现为低通滤波,如下图所示。利用均衡(高通传函曲线),可在相应频带获得平坦(均匀衰减)的系统频响特性。

合理使用均衡技术,可以在下列三个方面改善系统设计:
例如,采用6dB预加重后,可以打开在10m电缆末端完全关闭的眼。

经过10m电缆传输的3.125Gbps数据:(a) 无预加重;(b) 6dB预加重
2.2.2接收均衡
接收均衡的基本思路如下图所示,有损链路以近似一阶的传函特性衰减正向通道数据,链路传输特性的带宽远远低于数据频率(对于二进制编码来说,数据频率fb等于码率的一半)。码间干扰会引起确定性抖动;此外,经过远距离长线传输后,到达有损电缆末端的信号眼图可能完全闭合。为了补偿这种损耗,数据首先通过一个传递函数进行处理,理想情况下,该传递函数应该是与电缆传输特性相反的传输函数。这样,当链路和均衡器级联后,可以获得足够的带宽。GMSL1解串器中采用12级可编程增益,防止不同电缆长度下出现下冲(增益过小)或过冲(增益过大)。增益可设置为在2dB至13dB之间12个不同放大倍数。GMSL2中的接收均衡设置没有仔细研究。

不同调谐设置下的均衡器交流特性和增益
在接收器内增加一个传输函数与电缆传输特性相反的电路,对数据进行均衡。
下图所示为不同增益设置下的接收器传输函数(交流特性);

在10m STP电缆通道,电缆传输特性 + 不同增益均衡器(级联)的等效交流特性
下图所示为10m STP电缆通道和均衡接收器共同作用下的传输函数。图中不同增益电平的响应特性有所重叠。增益设置为8倍(9.4dB)时,总体等效传输特性在工作频段非常平坦。

在10m STP电缆通道,电缆传输特性 + 不同增益均衡器(级联)的等效交流特性
下图给出了经过10m STP电缆传输后,接收器的输入、输出眼图。从图中可以看出,均衡器打开了完全闭合的眼图。

在10m电缆通道,最佳增益设置下的接收器输入、输出眼图
总体传函不平坦时,会发生什么?就ISI抖动而言,过冲造成的危害通常低于下冲。如下图所示,增益下降到最佳值以下时,输出抖动迅速增大。相反,增益增大到最佳值以上时,抖动增大得比较缓慢。

在10m电缆通道,ISI抖动峰-峰值与增益设置的关系
2.2.3自适应均衡 (AEQ) Automatic Adaptive Equalization
GMSL2 设备自动调整接收器的特性,以补偿由电缆、连接器和 PCB 组成的通道的插入和回波损耗特性。 这种方法优化了GMSL2通道的性能。 均衡器架构使 GMSL2 链路能够抵抗噪声、串扰和反射。均衡器放大高频信号,当与电缆的频率响应相结合时,接收器可以恢复具有更高保真度的宽带信号。
MAX967xx 解串器具有内置自适应均衡器电路。均衡器具有 12 种不同的补偿级别,使 SERDES 系统能够处理长达 30m 的同轴电缆和 15m 的 STP 电缆长度。初始自适应在链路锁定期间执行,然后以大约 1Hz 的速率调用以跟踪温度和电压变化。
GMSL2 链路在串行器和解串器中均包含一个回声消除电路,以实现高速视频数据和双向控制数据的同时传输。其实这个技术在车载以太网里面也使用了,原理是一样的,都是为了实现单一信道的双向数据传输。
扩频用于减少电磁干扰 (EMI)。 可选的扩频时钟 (SSC) 可用于减轻从设备和互连发出的电磁干扰,并提供额外的余量。 SSC(spread-spectrum clocking)通过在更宽的带宽上传播能量来减少频谱中的峰值。 前向信道扩频频率可编程范围为 10kHz 至 40kHz,频率偏差可编程范围为 0% 至 ±0.125%。 如果没有前向信道,扩频被编程,可以容忍高达 0.5% 的频率偏差。扩频使用的是25kHz锯齿调制曲线。
下图是不同扩频条件下时钟输出的功率值,可以看到使用2%的扩频,峰值功率下降近20dB。(截取自MAX9726)

MAX967xx 产品线中的某些器件具有内置线路故障检测功能(见下图)。通过在串行链路和 LMN0/LMN1 引脚之间连接一个外部电阻网络,并包含一个介于 1.5V 和 1.7V 之间的参考电压,系统可以自动检测串行链路的物理状态。如果检测到电缆开路、电池短路或接地短路,可选硬件引脚 LFLTB/GPIO1 可用于发出标志。包含两个线路故障监视器引脚 LMN0 和 LMN1,用于与单芯同轴电缆和屏蔽双绞线 (STP) 电缆一起使用。
LMN0/LMN1 引脚的正常工作阈值为 0.57V 至 1.07V。如果电缆与 GND 短路,线路电压将被拉至该阈值以下。如果电缆开路,线路电压将上拉至 1.5V 至 1.7V 之间的参考电压。如果电缆与电池短路,则线路电压会被拉高至 2.5V 以上。


在许多系统中,一根 STP 电缆实际上内部有两对:一对用于电源,另一对用于数据。在 SERDES 链路中使用同轴电缆而不是 STP 电缆具有优势——它们更便宜、更轻、更灵活,并且在高频下损耗更小。为了使低成本同轴电缆具有竞争力,它还必须通过一根电缆同时提供电力和数据。为实现这一点,内导体上的可用频谱被分为三个频段——功率、反向信道数据和前向信道数据。滤波用于将合适的频带传递给其相应的电路。数据通道通过串联电容器交流耦合到收发器输入。

直流电源通常使用串联电感器的低通特性来构建滤波器,其阻抗在反向通道和正向通道频带中上升到 1kΩ 以上。由于数据通道以 50Ω 终端运行,因此阻抗增加 20 倍足以耦合直流电压并滤除高频成分。由于每个电感器都有寄生电容,会导致自谐振和相应的高频阻抗下降,因此选择不同尺寸的电感器来滤除所有感兴趣的频带。下图给出了一个设计实例。官方的《Hardware Design and Validation Guide》文档里面有很详细的设计过程,由于那个文档有保密协议约束,我就不细述,有需要的找FAE要。

通过电缆传输的所有电流都必须通过电源滤波器中的每个电感器,这对电感器参数选择施加了额外的限制,包括:饱和电流、直流绕组电阻和封装尺寸。如果大于饱和电流的电流流过电感器,其磁场就会饱和,电感会急剧下降。存在与通过电感器的电流及其 DCR 成正比的功率损耗,这会导致发生自热。如果供电轨中没有内置电压余量,则电源滤波器上的压降可能会导致负载上的电压电平不足。
眼图张开监视器 (EOM)能够监视活动链路上的链路余量,并在低于可接受水平时生成中断。 例如,如果电缆损坏,链路可以无差错运行,但链路余量低于预期。 这允许用户在任何链路错误发生之前主动对恶化的电缆性能做出反应。 GMSL2 部件可以测量均衡器输出的水平或垂直眼图张度。 一旦链路处于活动状态,测量将以大约 1Hz 的速率自动激活。 EOM 模块将在眼图中心采样的数据与相位偏移(对于水平 EOM)或电压偏移(对于垂直 EOM)进行比较。 然后报告了一个眼图张开的品质因数。 如果开口低于用户定义的阈值,EOM 可以触发中断或重置。
从前文分析我们知道线缆的衰减影响了传输的性能。为了方便用户设计,GMSL芯片手册中一般都会列举线缆选择要求。下图截取自MAX96724的数据手册。

手册中推荐在105℃的温度下,如果使用100欧姆阻抗双绞线完成3Gbps速率的传输,线缆衰减要求不高于2.2dB/m,建议传输距离不要超过11m。当然手册中的这部分我认为只是建议,具体传输性能要以实测误码率为准,毕竟不同线缆的传输曲线是不一样的。下图列举了几种高频线缆的损耗表现

GMSL的接头可以选择Fakra或者Rosenberger的H-MTD和HFM接头,下图展示了两种Rosenberger接头,比较贵,慎用,慎!慎!慎!

以MAX96724/F/R为例,前向链路具有 3Gbps 或 6Gbps 的固定链路速率。 反向链路速率固定为 187.5Mbps。 GMSL2 协议和信道编码开销大约为 14%。 这使得正向数据吞吐量约为 2.6Gbps 或 5.2Gbps,反向数据吞吐量为 162Mbps。 确保最坏情况的用例不会超过前向和反向链路的可用吞吐量。 GMSL SerDes GUI 包括一个带宽 (BW) 计算器,可用于初始带宽需求估算。 建议向工厂咨询高带宽用例,以确保无差错性能。
下表提供了每个通信通道的带宽利用率的粗略估计。


GMSL发送端电平数值(截取自MAX96717)差分信号摆幅为800mV,共模电压500mV

PAM4(4-Level Pulse Amplitude Modulation)即四电平脉冲幅度调制,PAM4信号技术是一种采用4个不同的信号电平来进行信号传输的调制技术。PAM4信号比传统NRZ(Non-Return-to-Zero)信号多了两个电平:NRZ信号采用高、低两种信号电平表示数字逻辑信号的1、0,每个周期可以传输1bit的逻辑信息;PAM4信号则采用4个不同的信号电平进行信号传输,即00、01、10、11,每个周期可以传输2bit的逻辑信息。因此,在相同符号周期内,PAM4信号的比特速率是NRZ信号的两倍。

FPD Link III 在其他文章里面介绍过了,这里不写太多了,插一个别人列好的对比表格,凑合看看吧,乏了写不动了
