CCPD: Chinese City Parking Dataset
链接:https://pan.baidu.com/s/17JQL6-ckiNK9eZzDb1rWZA?pwd=r2az
提取码:r2az

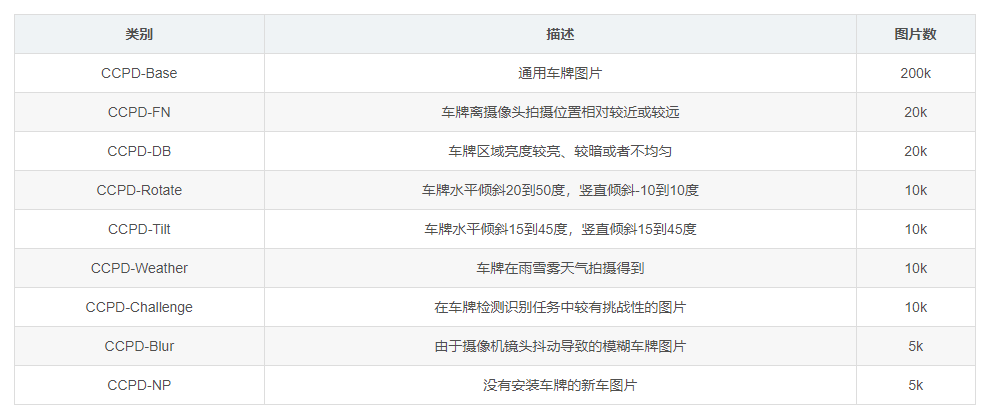
ccpd_base.zip: contains 1000 pictures which are taken from different perspectives and different distances, under different illuminations and in different.
ccpd_blur.zip: 模糊 contains 1000 pictures where pictures are blurred largely.
ccpd_challenge.zip: 挑战 contains 1000 pictures which is the most difficult benchmark for LPDR algorithm.
ccpd_characters.zip: 没看到是啥 contains numerical and character images which is designed for training neural networks to recognize segmented character images.
ccpd_db.zip: 很亮或者很暗的环境 contains 1000 pictures where illuminations on the LP area are dark or extremely bright.
ccpd_fn.zip: 很近或者很远的环境 contains 1000 pictures where the distance from the LP to the shooting location is relatively far or very near.
ccpd_np.zip: 有车缺没有车牌 contains 1000 pictures where the car in the picture dose not own a LP.
ccpd_rotate.zip: contains 1000 pictures with great horizontal tilt degree.
ccpd_tilt.zip: contains 1000 pictures with both relatively great horizontal tilt degree and vertical tilt degree.
ccpd_weather.zip: contains 1000 pictures which are taken in rainy weather.
图片名就是标签:

转化程序:
# coding:utf-8
import os
import os.path
import re
import shutil
import cv2
from tqdm import tqdm
def listPathAllfiles(dirname):
result = []
for maindir, subdir, file_name_list in os.walk(dirname):
for filename in file_name_list:
apath = os.path.join(maindir, filename)
result.append(apath)
return result
if __name__ == '__main__':
data_path = r'E:\train_data\number_plate' # 数据集在哪里需要填写
save_path = r'E:\detection\15carplate\ccpd' # 程序会存到这个路径需要填写
images_save_path = os.path.join(save_path, "images")
labels_save_path = os.path.join(save_path, "labels")
if not os.path.exists(images_save_path): os.makedirs(images_save_path)
if not os.path.exists(labels_save_path): os.makedirs(labels_save_path)
images_files = listPathAllfiles(data_path)
cnt = 1
for name in tqdm(images_files):
if name.endswith(".jpg") or name.endswith(".png"):
img = cv2.imread(name)
height, width = img.shape[0], img.shape[1]
str1 = re.findall('-\d+\&\d+_\d+\&\d+-', name)[0][1:-1]
str2 = re.split('\&|_', str1)
x0 = int(str2[0])
y0 = int(str2[1])
x1 = int(str2[2])
y1 = int(str2[3])
x = round((x0 + x1) / 2 / width, 6)
y = round((y0 + y1) / 2 / height, 6)
w = round((x1 - x0) / width, 6)
h = round((y1 - y0) / height, 6)
txtfile = os.path.join(labels_save_path, "plate_" + str(cnt).zfill(6) + ".txt")
imgfile = os.path.join(images_save_path,
"plate_" + str(cnt).zfill(6) + "." + os.path.basename(name).split(".")[-1])
open(txtfile, "w").write(" ".join(["0", str(x), str(y), str(w), str(h)]))
shutil.move(name, imgfile) # 移动文件到别的位置,且重命名
cnt += 1
import os
import cv2
import matplotlib.pyplot as plt
import numpy as np
ASSETS_DIRECTORY = "assets"
plt.rcParams["savefig.bbox"] = "tight"
def listPathAllfiles(dirname):
result = []
for maindir, subdir, file_name_list in os.walk(dirname):
for filename in file_name_list:
apath = os.path.join(maindir, filename)
result.append(apath)
return result
if __name__ == '__main__':
labelspath = r'E:\detection\15carplate\ccpd\labels'
imagespath = r'E:\detection\15carplate\ccpd\images'
labelsFiles = listPathAllfiles(labelspath)
for lbf in labelsFiles[::-1]:
labels = open(lbf, "r").readlines()
labels = list(map(lambda x: x.strip().split(" "), labels))
imgfileName = os.path.join(imagespath, os.path.basename(lbf)[:-4] + ".jpg")
img = cv2.imdecode(np.fromfile(imgfileName, dtype=np.uint8), 1) # img是矩阵
for lbs in labels:
lb = list(map(float, lbs))[1:]
x1 = int((lb[0] - lb[2] / 2) * img.shape[1])
y1 = int((lb[1] - lb[3] / 2) * img.shape[0])
x2 = int((lb[0] + lb[2] / 2) * img.shape[1])
y2 = int((lb[1] + lb[3] / 2) * img.shape[0])
cv2.rectangle(img, (x1, y1), (x2, y2), (0, 0, 255), 5)
ratio = 600 / min(img.shape[0:2])
img = cv2.resize(img, dsize=(int(img.shape[1] * ratio), int(img.shape[0] * ratio)))
cv2.imshow("1", img)
cv2.waitKey()
cv2.destroyAllWindows()
写data yaml
path: E:\detection\15carplate # dataset root dir
train: ccpd
val: ccpd
# Classes
nc: 1 # number of classes
names: [ 'plate' ] # class names

开始训练:
python train.py --batch-size 4 --data ccpd.yaml --img 640 --epochs 10 --weight weights/yolov5m.pt