项目运行
环境配置:
Jdk1.8 + Tomcat7.0 + Mysql + HBuilderX(Webstorm也行)+ Eclispe(IntelliJ IDEA,Eclispe,MyEclispe,Sts都支持)。
项目技术:
SSM + mybatis + Maven + Vue 等等组成,B/S模式 + Maven管理等等。
环境需要
1.运行环境:最好是java jdk 1.8,我们在这个平台上运行的。其他版本理论上也可以。
2.IDE环境:IDEA,Eclipse,Myeclipse都可以。推荐IDEA;
3.tomcat环境:Tomcat 7.x,8.x,9.x版本均可
4.硬件环境:windows 7/8/10 1G内存以上;或者 Mac OS;
5.是否Maven项目: 否;查看源码目录中是否包含pom.xml;若包含,则为maven项目,否则为非maven项目
6.数据库:MySql 5.7/8.0等版本均可;
毕设帮助,指导,本源码分享,调试部署(见文末)
3.4 系统流程分析
用户需要拥有属于自己的账号和密码,且必须正确,这样才能顺利登录到系统中。进入网站后,用户可以自行查询各种药品,在自己满意的药品的详情页面的最后,可以直接选择购买操作。具体流程如下图3-2所示:

图3-2 用户操作流程图
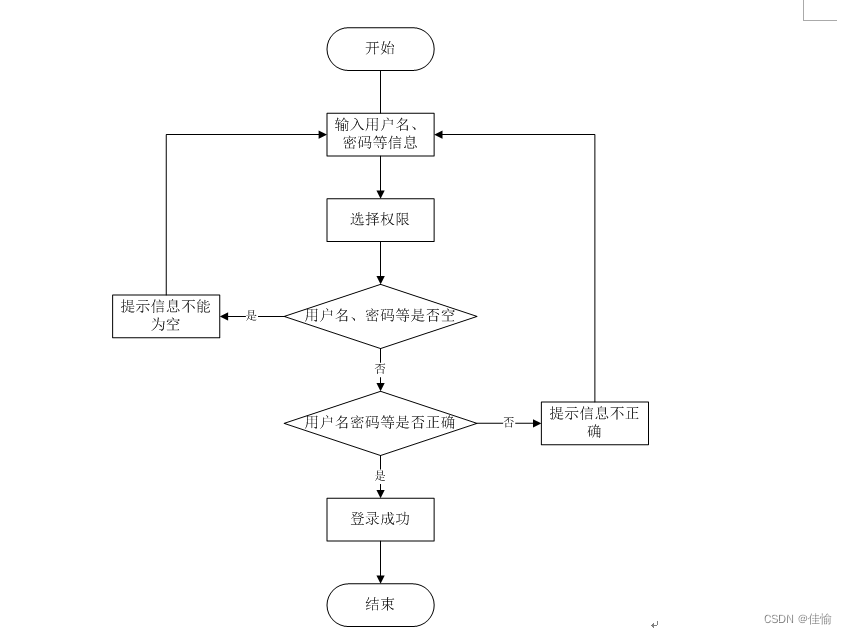
为了保证系统的安全性,要使用本系统对系统信息进行管理,必须先登陆到系统中。其具体登录流程图如图3-3所示:

图3-3 系统操作流程图
4.1 系统体系结构
通用病例管理系统的结构图4-1所示:

图4-1 系统结构
登录系统结构图,如图4-2所示:

图4-2 登录结构图
系统结构图,如图4-3所示:

图4-3 系统结构图
4.2 数据库实体设计
数据库的功能就是对系统中所有的数据进行存储和管理。所有的数据可以在数据库中产时间的进行存储,方便用户的使用。而且所有的数据库中的数据也应该具有一定的共享性,任何的系统可以对一些数据进行使用,同时还应该保持一定的独立性,每一个数据库中的数据都有很强的安全性,可以被很好的存放到数据库,没有进行身份的验证是不能对这些数据进行查看和使用的。数据库的设计需要明确每一个实体之间的联系,系统的E-R图如下图所示::
管理员实体主要存储管理信息包括用户名、密码、角色属性。管理员信息属性图如图4-4所示。

图4-4管理员信息实体属性图
5.1 前台功能模块
通用病例管理系统,在系统的首页可以查看首页、医生介绍、药品介绍、个人中心、后台管理等信息,如图5-1所示。

图5-1系统首页界面图
用户注册,新用户可以进行用户注册的操作,可以根据界面上的提示输入相应的信息,然后点击提交,所有的信息就被系统保存了下来,具体操作如图5-2所示。

图5-2用户注册界面图
医生介绍,在医生介绍信息页面中可以对所有的医生信息进行查看,可以看到医生的工号、性别、工作单位、职称、资格证编号、手机等内容,如图5-3所示。

图5-3医生介绍界面图
5.2后台管理员功能模块
管理员登录,管理员通过输入用户名、密码、角色然后点击登录就能登录到系统进行系统的使用了,如图5-4所示。

图5-4管理员登录界面图
管理员登录进入通用病例管理系统之后,就可以对所有的信息进行查看,可以查看到首页、个人中心、用户管理、医生管理、医生介绍管理、药品介绍管理、药品分类管理、病例管理方式、医疗询问管理、系统管理等,并且还可以对其进行相应的操作管理,如图5-5所示。

图5-5管理员功能界面图
用户管理,管理员可在用户管理页面通过输入账号、姓名进行用户信息查询、添加或修改等操作,如图5-6所示。

图5-6用户管理界面图
医生管理,管理员可在医生管理页面通过输入医生工号、医生姓名进行医生信息查询、添加、查看医生介绍或修改等操作,如图5-7所示。

图5-7医生管理界面图
药品分类管理,管理员可在药品分类管理页面通过输入类别进行查询、添加、修改或删除等操作,如图5-8所示。

图5-8药品分类管理界面图
病例管理方式,管理员可在病例管理方式页面通过输入账号、医生工号进行查询、修改或删除等操作,如图5-9所示。

图5-9病例管理方式界面图
5.3后台医生功能模块
医生注册,医生通过输入医生工号、密码、医生名称、工作单位、职称、资格证编号、科室、医生手机、邮箱、身份证进行注册,如图5-10所示。
图5-10医生注册界面图
医生登录,医生通过输入用户名、密码、角色进行登录,如图5-11所示。
图5-11医生登录界面图
医生登录通用病例管理系统可查看首页、个人中心、医生介绍管理、病例管理方式、医疗询问管理等内容,如图5-12所示。
图5-12医生功能管理界面图
医疗询问管理,医生可在医疗询问页面通过输入账号、医生工号进行查询、添加等操作,如图5-13所示。
图5-13医疗询问管理界面图
病例管理方式,医生可在病例管理方式页面通过输入账号、医生工号进行查询或添加等操作,如图5-14所示。

图5-14病例管理方式界面图