项目运行
环境配置:
Jdk1.8 + Tomcat7.0 + Mysql + HBuilderX(Webstorm也行)+ Eclispe(IntelliJ IDEA,Eclispe,MyEclispe,Sts都支持)。
项目技术:
SSM + mybatis + Maven + Vue 等等组成,B/S模式 + Maven管理等等。
环境需要
1.运行环境:最好是java jdk 1.8,我们在这个平台上运行的。其他版本理论上也可以。
2.IDE环境:IDEA,Eclipse,Myeclipse都可以。推荐IDEA;
3.tomcat环境:Tomcat 7.x,8.x,9.x版本均可
4.硬件环境:windows 7/8/10 1G内存以上;或者 Mac OS;
5.是否Maven项目: 否;查看源码目录中是否包含pom.xml;若包含,则为maven项目,否则为非maven项目
6.数据库:MySql 5.7/8.0等版本均可;
毕设帮助,指导,本源码分享,调试部署(见文末)
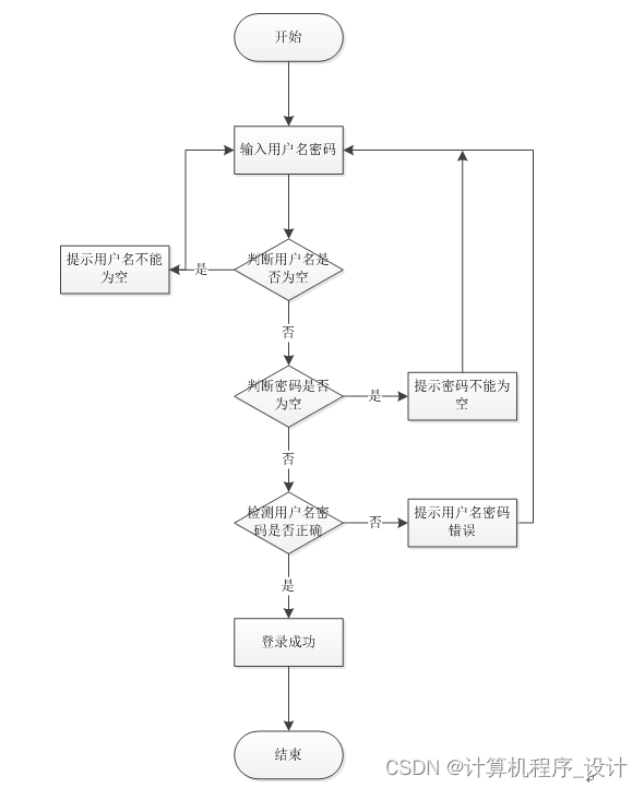
系统业务流程图,如图所示:

图3-1登录流程图
图3-2添加信息流程图
图3-3注册信息流程图
足球队管理系统基于Web服务模式,是一个适用于Internet环境下的模型结构。只要用户能连上Internet,便可以在不受时间、地点的限制来使用这个系统。足球队管理系统工作原理图,如图4-1所示:

图4-1 系统工作原理图
本系统架构网站系统,本系统的具体功能如下:

图4-2系统功能结构图
管理员功能结构图,如图4-3所示:
-
图4-3 管理员功能结构图
用户功能结构图,如图4-4所示:

图4-4 用户功能结构图
管理员信息结构图,如图4-5所示:

图4-5 管理员信息实体结构图
球队信息管理实体属性图,如图4-6所示:

图4-6球队信息管理实体属性图
比赛信息管理实体属性图,如图4-7所示:

图4-7比赛信息管理实体属性图
登录,用户通过输入用户名,密码,选择角色等信息即可进行系统登录,如图5-1所示。

图5-1管理员登录界面图
用户注册,在用户注册页面通过填写个人账号、密码、姓名、年龄、身份证号码、手机号码等信息进行学生修改,如图5-2所示。

图5-2用户注册界面图
管理员登录进入足球队管理系统可以查看个人中心、用户管理、球队信息管理、球队类型管理、场地信息管理、训练信息管理、申请信息管理、训练打卡管理、训练数据管理、比赛信息管理、参赛信息管理、比赛结果管理、比赛类型管理等内容进行详细操作,如图5-3所示。

图5-3管理员功能界面图
球队信息管理,在球队信息管理页面可以查看球队编号、球队名称、球队类型、球队简介、相关图片、球队人数、主教练等信息,并可根据需要进行训练、比赛安排、进行查看、修改或删除等操作,如图5-4所示。

图5-4球队信息管理界面图
球队类型管理,在球队类型管理页面可以查看球队类型等内容,并可根据需要进行查看、修改或删除等操作,如图5-5所示。

图5-5球队类型管理界面图
场地信息管理,在场地信息管理页面可以查看场地名称、场地类型、场地简介、地址、负责人、联系方式、相关图片等内容,并可根据需要进行修改或删除等操作,如图5-6所示。

图5-6场地信息管理界面图
训练信息管理,在训练信息管理页面可以查看球队编号、训练名称、训练简介、球队名称、球队类型、主教练、场地名称、场地类型、地址、发布日期等内容,并可根据需要进行查看、修改或删除等操作,如图5-7所示。

图5-7训练信息管理界面图
申请信息管理,在申请信息管理页面可以查看球队编号、球队名称、球队类型、主教练、个人账号、姓名、申请日期、是否审核、审核回复等内容,并可根据需要进行审核、查看、删除等操作,如图5-8所示。

图5-8申请信息管理界面图
训练打卡管理,在训练打卡管理页面可以查看训练编号、训练名称、球队名称、球队类型、主教练、场地名称、地址、发布日期、状态、个人账号、姓名、打卡日期、是否审核、审核回复等内容,并可根据需要进行审核、数据、查看、删除等操作,如图5-9所示。

图5-9训练打卡管理界面图
训练数据管理,在训练数据管理页面可以查看训练编号、训练名称、球队名称、球队类型、主教练、场地名称、地址、发布日期、个人账号、姓名、登记日期、是否审核、审核回复等内容,并可根据需要进行查看、修改或删除等操作,如图5-10所示。

图5-10训练数据管理界面图
比赛信息管理,在比赛信息管理页面可以查看比赛编号、比赛名称、比赛类型、比赛简介、比赛场地、地址、球队名称、竞赛球队、比赛日期等内容,并可根据需要进行结束、查看、修改或删除等操作,如图5-11所示。

图5-11比赛信息管理界面图
参赛信息管理,在参赛信息管理页面可以查看比赛编号、比赛名称、比赛类型、比赛场地、地址、球队名称、竞赛球队、比赛日期、个人账号、姓名、备注、申请日期、是否审核、审核回复等内容,并可根据需要进行审核、查看、删除等操作,如图5-12所示。

图5-12参赛信息管理界面图
用户登录进入足球队管理系统可以查看个人中心、球队信息管理、场地信息管理、训练信息管理、申请信息管理、训练打卡管理、训练数据管理、比赛信息管理、参赛信息管理、比赛结果管理等内容进行详细操作,如图5-13所示。

图5-13用户功能界面图