项目运行
环境配置:
Jdk1.8 + Tomcat7.0 + Mysql + HBuilderX(Webstorm也行)+ Eclispe(IntelliJ IDEA,Eclispe,MyEclispe,Sts都支持)。
项目技术:
SSM + mybatis + Maven + Vue 等等组成,B/S模式 + Maven管理等等。
环境需要
1.运行环境:最好是java jdk 1.8,我们在这个平台上运行的。其他版本理论上也可以。
2.IDE环境:IDEA,Eclipse,Myeclipse都可以。推荐IDEA;
3.tomcat环境:Tomcat 7.x,8.x,9.x版本均可
4.硬件环境:windows 7/8/10 1G内存以上;或者 Mac OS;
5.是否Maven项目: 否;查看源码目录中是否包含pom.xml;若包含,则为maven项目,否则为非maven项目
6.数据库:MySql 5.7/8.0等版本均可;
毕设帮助,指导,本源码分享,调试部署(见文末)
本网站可以分为:会员使用的功能、教练使用的功能和管理员进行管理的功能。
会员使用功能:首页、个人中心、会员卡管理、课程预约管理、课程评价管理、我的收藏管理等。
教练使用功能:首页、个人中心、会员卡管理、排课信息管理、课程信息管理、课程预约管理、课程评价管理等。
管理员管理功能:首页、个人中心、会员管理、会员卡管理、教练管理、运动器材管理、课程名称管理、上课时间管理、排课信息管理、课程信息管理、课程预约管理、课程评价管理、留言板管理、系统管理等。
健身房管理系统的结构图3-1所示:

图3-1 系统结构
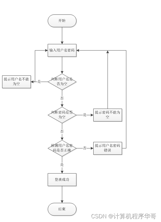
登录系统结构图,如图3-2所示:

图3-2 登录结构图
这些功能可以充分满足健身房管理系统的需求。此系统功能较为全面如下图系统功能结构如图3-3所示。

图3-3系统功能结构图

图3-4登录流程图
添加信息流程图,如图所示:
图3-5添加信息流程图
删除信息流程图,如图所示:

图3-6删除信息流程图
管理员信息结构图,如图3-7所示:

图3-7 管理员信息实体结构图
会员信息管理实体属性图,如图3-8所示:

图3-8会员信息管理实体属性图
排课信息管理实体属性图如图3-9所示。

图3-9排课信息管理实体属性图
健身房管理系统,在系统首页可以查看首页、运动器材、课程信息、健身房资讯、留言反馈、个人中心、后台管理等内容,如图4-1所示。

图4-1系统首页界面图
课程信息,在课程信息页面可以查看课程名称、课程类型、图片、可约人数、上课时间、上课地点、课程简介、教练工号、教练姓名、等级等详细内容进行预约或评论,如图4-2所示。

图4-2课程信息界面图
个人中心,在个人中心页面通过填写会员账号、密码、会员姓名、性别、图片、年龄、手机、邮箱、身份证等信息进行个人信息修改,还可以根据需要对我的收藏进行详细操作,如图4-3所示。

图4-3个人中心界面图
管理员登录,通过填写注册时输入的用户名、密码、选择角色进行登录,如图4-4所示。

图4-4管理员登录界面图
管理员登录进入健身房管理系统可以查看首页、个人中心、会员管理、会员卡管理、教练管理、运动器材管理、课程名称管理、上课时间管理、排课信息管理、课程信息管理、课程预约管理、课程评价管理、留言板管理、系统管理等信息进行详细操作,如图4-5所示。

图4-5管理员功能界面图
会员管理,在会员管理页面中可以查看索引、会员账号、会员姓名、性别、头像、年龄、手机、邮箱、身份证等信息,并可根据需要进行详情、会员卡、修改或删除等操作,如图4-6所示。

图4-6会员管理界面图
会员卡管理,在会员卡管理页面中可以查看索引、会员账号、会员姓名、性别、手机、身份证、会员卡号、办卡日期、会员类型、有效期至等信息,并可根据需要进行详情、修改或删除等操作,如图4-7所示。

图4-7会员卡管理界面图
教练管理,在教练管理页面中可以查看索引、教练工号、教练姓名、性别、头像、年龄、等级、联系方式、身份证等信息,并可根据需要进行详情、修改或删除等操作,如图4-8所示。

图4-8教练管理界面图
运动器材管理,在运动器材管理页面中可以查看索引、器材编号、器材名称、器材类型、图片等信息,并可根据需要进行详情、修改、查看评论或删除等操作,如图4-9所示。

图4-9运动器材管理界面图
排课信息管理,在排课信息管理页面中可以查看索引、课程名称、星期、节数、上课时间、教练工号、教练姓名等信息,并可根据需要进行详情、修改或删除等操作,如图4-10所示。

图4-10排课信息管理界面图
课程信息管理,在课程信息管理页面中可以查看索引、课程名称、课程类型、图片、可约人数、上课时间、上课地点、课程简介、教练工号、教练姓名、等级等信息,并可根据需要进行详情、修改、查看评论或删除等操作,如图4-11所示。

图4-11课程信息管理界面图
系统管理,在健身房资讯页面中可以查看索引、标题、图片等信息,并可根据需要进行详情、修改或删除等操作,还可以根据需要对轮播图管理进行详细操作;如图4-12所示。

图4-12系统管理界面图
教练登录进入健身房管理系统可以查看首页、个人中心、会员卡管理、排课信息管理、课程信息管理、课程预约管理、课程评价管理等内容进行详细操作,如图4-13所示。

图4-13教练功能界面图